Head & Neck | Montgomery® Safe-T-Tubes™

Pediatric – Safe T Tube – 3200 Series

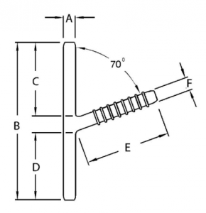
The 3200 Series Pediatric Safe-T-Tubes™ has an angled extraluminal limb to facilitate suctioning and airway management. Shortened limbs can be ordered at Boston Medical (please contact info@soluvos.com), supplied non-sterile. Please allow up to 4 working days, excluding shipping time for custom orders.

Available in sizes 6 mm, 7 mm, 8 mm and 9 mm (outside diameter) in either clear or radiopaque implant-grade silicone. Each Safe-T-Tube™ set includes the tube, two Plug/Ring sets, Instructions for Use, and a PATIENT-PAK™ (including Cleaning & Care Instructions and a storage container for Plug/Ring sets). Additional Plug/Ring sets are available. Refer to the chart below for corresponding product codes.

indications

  • Acute laryngotracheal injuries
  • Intrathoracic tracheal stenosis
  • Reconstructed trachea
  • Reconstituted trachea
  • Tracheal stenosis when the cervical or thoracic trachea cannot be repaired
  • Segmental resection and anastomosis
  • Cervical trachea that cannot be repaired

features

  • Angled extraluminal limb
  • Implant-grade silicone
  • Non-adherent smooth surface
  • Safety ring and groove system
  • Available in clear or radiopaque material

supplied

  • Sterile
  • For single use
  • 1 Tube, 2 Plug/Ring Sets, 1 IFU, 1 PATIENT-PAK™ per carton

Ordering information

 

Size REF Dimensions (mm) REF
  Clear Radiopaque A B C D E F Plug/Ring Set
REF6 320006 32006R 6 94 45 42 45 6 321066
7 320007 32007R 7 95 46 43 45 6 321066
8 320008 32008R 8 96 46 42 45 8 321086
9 320009 32009R 9 97 46 43 45 8 321086

The ordering information, including possible assortment of different sizes and materials, reference number and items per box, can be found on the desktop website. 

Other Head & Neck Products

Our Vision? Reach as many people as possible in order to improve their quality of life.

 

SOLUVOS MEDICAL BV

Torenallee 20
5617 BC Eindhoven
The Netherlands
T: +31 40 304 17 17
T: +44 845 528 0071
F: +43 72 088 22 21
E: info(at)soluvos.com

 

 

 

 


CoC/KvK: 64293964
VAT/BTW: NL855603690B01